支点网络助你轻松赢销海外

轻松搞定跨境电商获客、外贸企业询盘

服务商如何提交工单给支点?

浏览数量: 684     作者: 本站编辑     发布时间: 2021-12-07      来源: 本站

["wechat","weibo","qzone","douban","email"]

.权限说明

服务商提交工单需要在服务商管理后台->工单系统来提交,不能在客户网站后台提交;

 

目前客服角色是直接取“我的员工”中的员工账号,没有单独再针对工单系统添加客服账号。所以只要是我的员工中的账号,都可以在工单系统-》数据管理-》工单特征描述中,选择分配客服人员。“我的员工”页面,拥有“超级管理员”权限的账号拥有查看“所有工单列表”的权限,其他被分配工单系统的客服权限的子账号拥有处理工单的权限,只能看到分配给自己名下的工单记录

 

.数据管理

 

1.权限说明

客服端-》左侧菜单-》数据管理,这个权限只有主账号以及拥有“超级管理员”权限的子账号才能看到,也就是说针对“工单类型”和“工单特征描述”的数据配置只有管理员权限的账号才能操作。

 

2. 工单类型

“超级管理员”权限的账号登录系统,进入工单系统,点击左侧菜单-》数据管理-》工单类型。

在以上界面点击【+添加工单类型】,输入工单类型,状态默认开启,点击【保存】按钮即可添加成功。


3.工单特征描述

用“超级管理员”权限的账号登录系统,进入工单系统,点击左侧菜单-》数据管理-》工单特征描述。

在以上界面点击【+添加工单特征】,输入工单特征描述,状态默认开启,点击【保存】按钮即可添加成功。

三.系统管理


1.权限说明

客服端-》左侧菜单-》数据管理,这个权限只有主账号以及拥有“超级管理员”权限的子账号才能看到,也就是说针对“工单类型”和“工单特征描述”的数据配置只有管理员权限的账号才能操作。


2.系统配置

用“超级管理员”权限的账号登录系统,进入工单系统,点击左侧菜单-》系统管理-》系统配置

请每个公司针对企业自身服务时间灵活调整这句话,然后点击页面的【保存】按钮生效,这里设置后,在用户端提交工单页面上方就会显示这段提示文字,让用户能够真实知晓您的服务能力。


四.工单管理


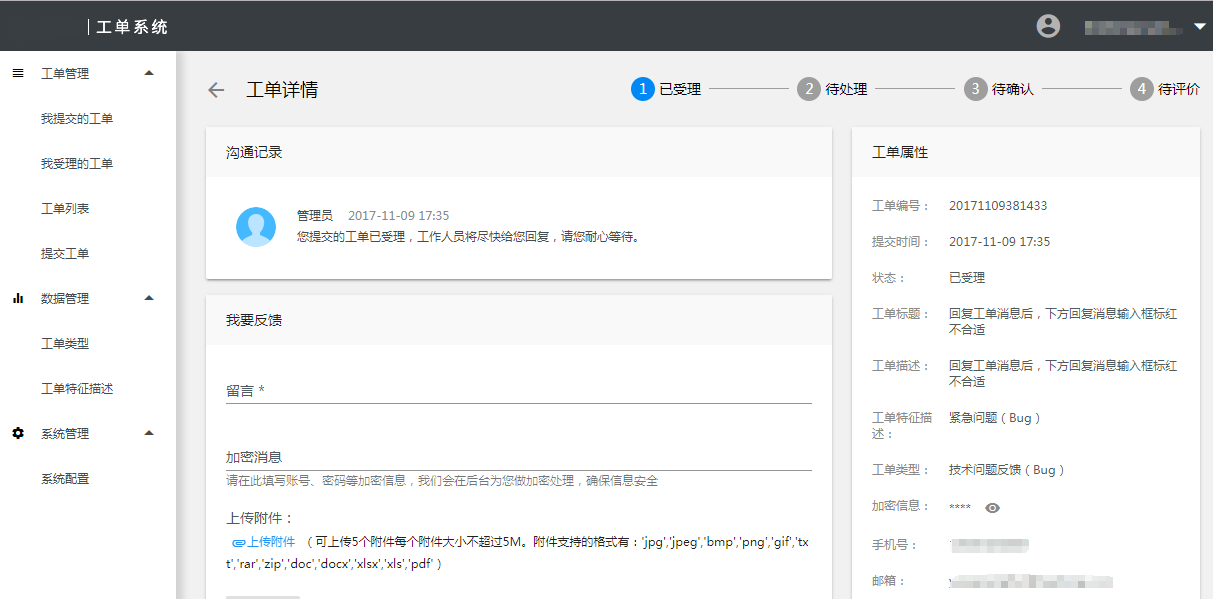
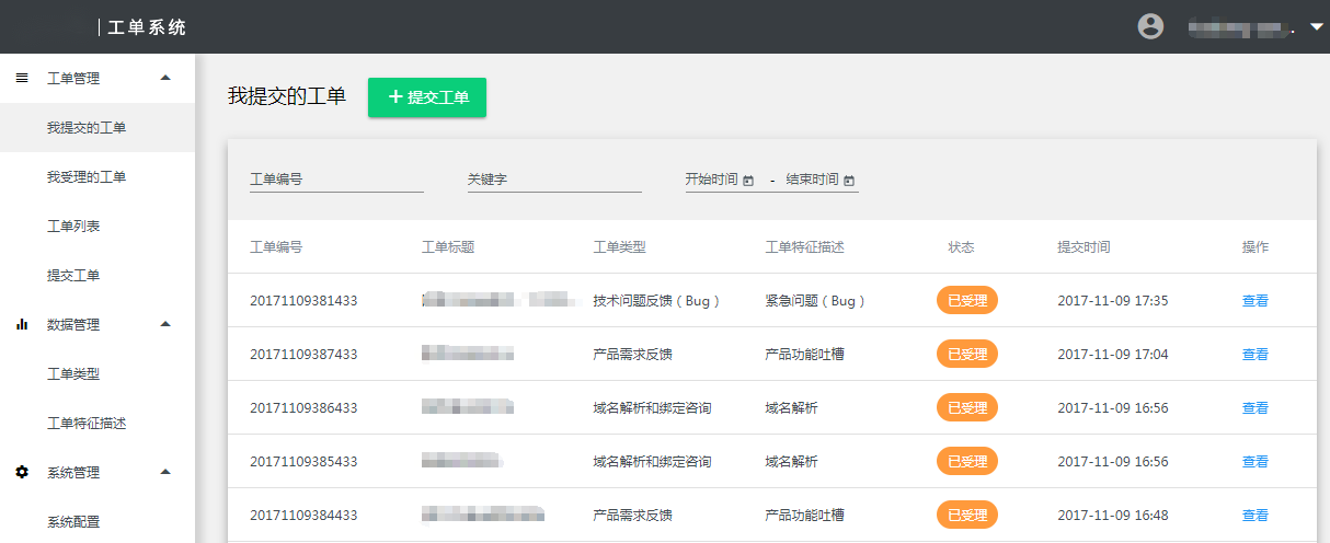
1.我提交的工单

服务商作为“用户”角色拥有提交工单的功能。在“我提交的工单”列表,可以看到服务商向支点提交的所有工单的记录。

客服端账号登录系统,进入工单系统,点击左侧菜单-》工单管理-》我提交的工单,可以查看所有我提交的工单列表。

 

在以上界面点击操作项的【查看】操作,进入工单详情。右上角显示工单的状态的进度情况,在“沟通记录”页签下可以看到服务商与支点的历史沟通记录,右侧“工单属性”模块显示该工单的基本信息,工单详情如下界面所示:

2.我受理的工单

服务商账号登录系统,进入工单系统,点击左侧菜单-》工单管理-》我受理的工单,可以查看用户提交所有工单的列表。


在以上界面点击操作项的【查看】操作,进入工单详情。右上角显示工单的状态的进度情况,在“沟通记录”页签下可以看到服务商与用户的历史沟通记录,切换到“操作日志”页签,可以看到针对该工单的所有操作记录,右侧“工单属性”模块显示该工单的基本信息。

2.1 服务商可执行“完结工单”操作

当服务商接收到用户反馈的工单后,在工单详情可以回复用户,如果是直接回复就能处理的,在回复用户后,再点击右侧最下方的【完结工单】按钮,即可将工单状态由“处理中”变成“已处理”


2.2 服务商可执行“转交工单”操作

当服务商处理不了此工单,需要转交给其他客服人员处理时,就需要在工单详情执行【转交工单】操作,工单转交后,就分配给了转交给的客服人员,在我受理的工单中就看不到此工单了。


3.工单列表


针对“工单列表”这个菜单,只有拥有“超级管理员”权限的账号才能看到,也就是说所有工单列表只有管理员账号能看到,普通的客服人员只能处理分配给我的工单。

“超级管理员”权限的账号登录,进入工单系统,点击左侧菜单-》工单管理-》工单列表,可以查看所有的工单记录


在以上界面点击操作项的【查看】操作,进入工单详情。右上角显示工单的状态的进度情况,在“沟通记录”页签下可以看到客服与用户的历史沟通记录,切换到“操作日志”页签可以查看该工单的任何操作的记录,右侧“工单属性”模块显示该工单的基本信息。

4.提交工单

需要填写工单标题、工单描述、加密信息(账号密码等私密信息请通过这个字段填写,会加密存储,避免账号信息泄露)、选择工单类型和工单特征描述、填写手机号码、邮箱、姓名、如有界面等还可以通过附件上传。


.工单系统FAQ

 

Q:工单系统有哪几种角色?

A:工单系统有两种角色:用户、客服。在支点网站上登录后,支点直销客户和支点服务商作为用户角色,提交工单给支点客服人员处理;在支点服务商网站上登录后,支点服务商的客户作为用户角色,提交工单给支点服务商的客服人员处理。不同服务商的客户提交的工单由对应的服务商的客服人员进行处理。

 

Q:提交工单是否需要登录?

A:需要,只有登录后才能提交工单。因为工单面向的用户是已经拥有平台账号的用户,而不是随便的一个访客都可以提交工单。

 

Q:如何分配客服人员处理不同的工单分类?

A:考虑到工单提交的问题类型比较多样,有的是建议、有的是bug,有的是咨询。所以我们提供了个性化工单类型和工单特征描述的功能,每个公司根据自身的业务情况进行划分,由管理员统一在工单系统中进行配置和管理。目前对客服人员的分配权限细化到了工单特征描述,也就是说在每个工单大类下可以再针对每个工单小类单独分配不同的客服人员处理。

 

Q:为什么创建工单时要有一项“机密信息”?

A:因为考虑到有一些问题的处理需要客户提供网站网址、用户名、密码等机密信息,如果不进行加密处理,会对用户的账号安全存在风险,所以我们会特意提供一项“机密信息”字段,提醒用户当涉及到机密信息时,填入此项,我们进行加密处理,确保信息安全。

 

Q:工单系统有哪些状态?具体每个状态是如何切换的?

A:工单系统包含以下几个状态::已受理、处理中、已处理、已确认、已评价、已关闭,具体每个状态的状态变更逻辑如下:

1)已受理:只要用户提交工单后,工单状态就自动变为“已受理”;

2)处理中:当“已受理”的工单被客服人员执行【查看】操作后,就会将工单状态由“已受理”变成“处理中”;

3)已处理:当客服人员执行【完结工单】操作后,工单状态会由“处理中”变成“已处理”;

4)已确认:当用户执行【确认工单已完成】操作后,工单状态会由“已处理”变成“已确认”;

5)已评价:当用户执行了【提交评价】操作后,工单状态会由“已确认”变成“已评价”;

6)已关闭:当用户在工单未处理完成期间执行了【关闭工单】操作,工单状态会变成“已关闭”。